更新时间:2026-01-09 GMT+08:00
导出异常行为告警日志
系统支持将异常行为告警日志导出到本地。
操作步骤
- 使用系统管理员sysadmin账号登录实例Web控制台。
- 在左侧导航栏,选择。
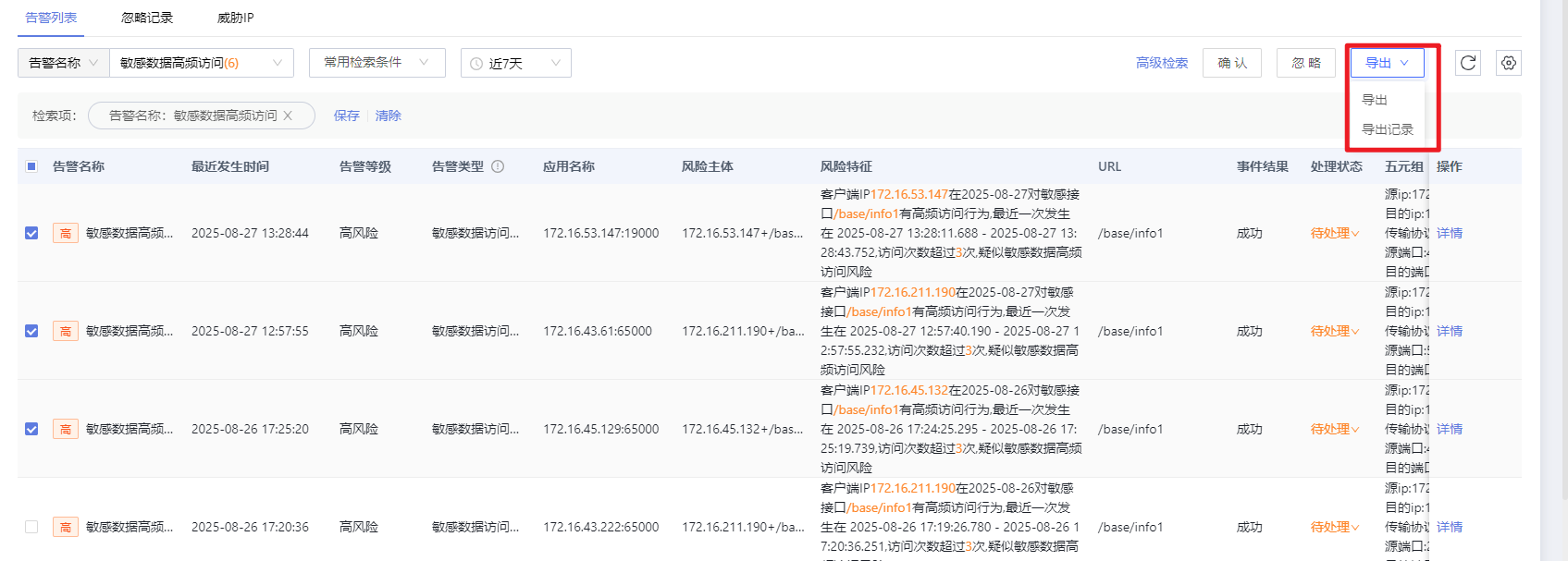
- 在告警列表中,勾选需要导出的告警事件。若不勾选,默认导出当前检索条件下告警列表中的所有告警日志。
- 单击右上角的导出,在下拉框中选择导出。
- 在导出下拉框中选择导出记录,待告警导出信息生成成功后,单击下载。图1 导出告警事件

相关操作
后续若需要删除告警信息导出记录,单击,在导出任务记录对话框中单击目标记录后的删除。

