更新时间:2025-09-19 GMT+08:00
错误码(数据面)
调用接口出错后,将不会返回结果数据。调用方可根据每个接口对应的错误码来定位错误原因。当调用出错时,HTTP请求返回一个4xx或5xx的HTTP状态码。返回的消息体中是具体的错误代码及错误信息。
错误响应Body体格式说明
当接口调用出错时,会返回错误码及错误信息说明,错误响应的Body体格式如下所示。
{
"resCode": "错误码",
"resMsg": "错误信息"
} 其中,resCode表示错误码,resMsg表示错误描述信息。
错误码说明
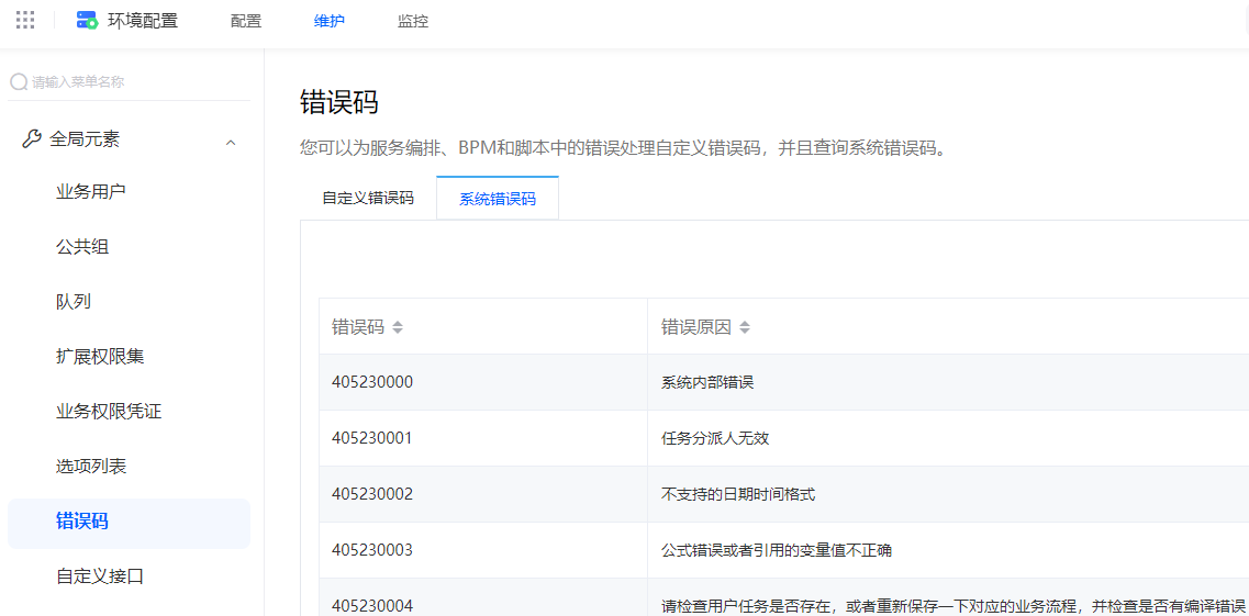
查看系统预置错误码有以下两个入口,请根据错误码查找具体的错误原因,并进行处理。例如“405230004”错误码,请根据错误码搜索,查看该错误码产生的原因,查看原因是“请检查用户任务是否存在,或者重新保存对应的业务流程,并检查是否有编译错误”,按照提示进行处理。如果不明确处理方式,请联系工程师处理。
- 在应用设计器的左侧导航栏中,选择“逻辑 > 更多 > 自定义错误码”。在“系统错误码”页签中,可查看错误码。 图1 App内查看错误码

- 在环境配置页面,选择“维护 > 全局元素 > 错误码”,在“系统错误码”页签中,可查看错误码。 图2 查看系统错误码

父主题:附录

