更新时间:2026-02-05 GMT+08:00
管理流程
操作场景
查看流程
- 登录安全云脑 SecMaster控制台。
- 单击管理控制台左上角的
,选择区域和项目。 - 在左侧导航栏选择,并在工作空间列表中,单击目标工作空间名称,进入目标工作空间管理页面。图1 进入目标工作空间管理页面

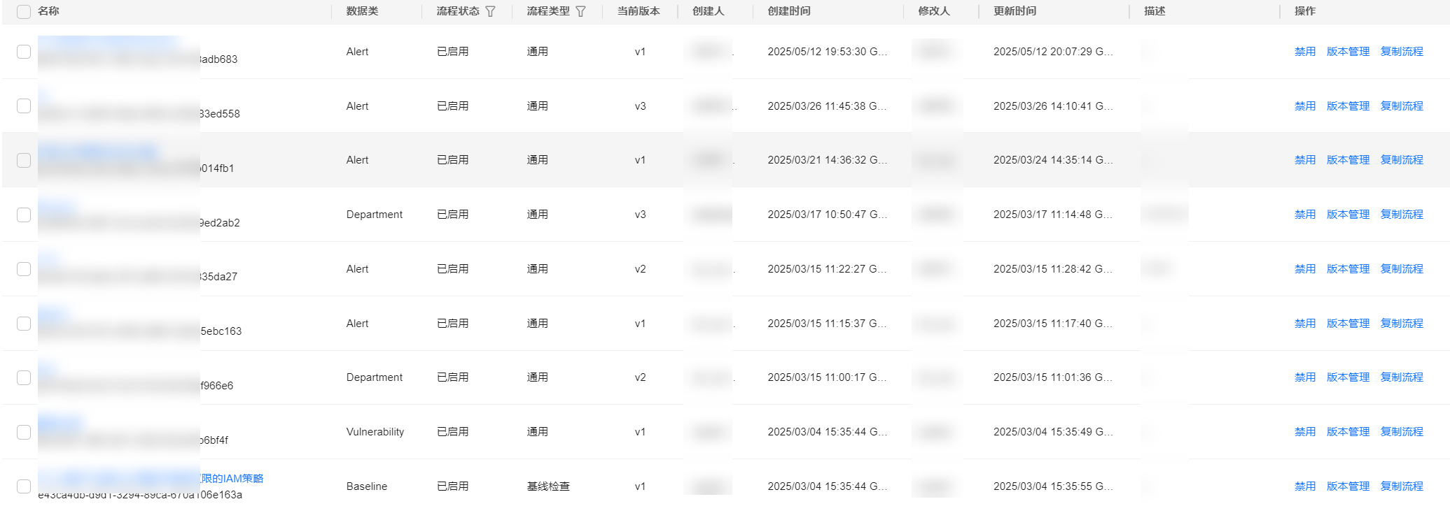
- 在左侧导航栏选择,进入剧本管理页面后,选择“流程”页签,进入流程管理页面。图2 流程管理页面

- 在流程管理页面中,查看已有流程的信息。图3 查看流程信息

导出流程

仅支持导出“流程状态”为“已启用”的流程。
- 登录安全云脑 SecMaster控制台。
- 单击管理控制台左上角的
,选择区域和项目。 - 在左侧导航栏选择,并在工作空间列表中,单击目标工作空间名称,进入目标工作空间管理页面。图4 进入目标工作空间管理页面

- 在左侧导航栏选择,进入剧本管理页面后,选择“流程”页签,进入流程管理页面。图5 流程管理页面

- 在流程管理页面中,勾选需导出的流程,并单击列表右上角的
,弹出导出流程确认框。 - 在弹出的确认框中,单击“确认”,系统将导出流程信息到本地。
删除流程

删除流程需要全部满足下列条件:
- “流程状态”为“未启用”。
- 当前流程中不存在激活的流程版本。
- 登录安全云脑 SecMaster控制台。
- 单击管理控制台左上角的
,选择区域和项目。 - 在左侧导航栏选择,并在工作空间列表中,单击目标工作空间名称,进入目标工作空间管理页面。图6 进入目标工作空间管理页面

- 在左侧导航栏选择,进入剧本管理页面后,选择“流程”页签,进入流程管理页面。图7 流程管理页面

- 在流程管理页面中,单击目标流程所在行“操作”列的,弹出删除流程确认框。
- 在弹出确认框中输入“DELETE”后,单击“确定”。

删除时,默认删除当前流程中的所有历史版本,删除后不可恢复,请谨慎操作。
禁用流程
- 登录安全云脑 SecMaster控制台。
- 单击管理控制台左上角的
,选择区域和项目。 - 在左侧导航栏选择,并在工作空间列表中,单击目标工作空间名称,进入目标工作空间管理页面。图8 进入目标工作空间管理页面

- 在左侧导航栏选择,进入剧本管理页面后,选择“流程”页签,进入流程管理页面。图9 流程管理页面

- 在目标流程所在行的“操作”列,单击“禁用”,页面弹出禁用确认框。
- 在弹出的确认框中,单击“确定”,完成流程禁用。
- 禁用后,在流程管理页面可查看对应“流程状态”变更为“未启用”表示禁用流程执行成功。
复制流程
- 登录安全云脑 SecMaster控制台。
- 单击管理控制台左上角的
,选择区域和项目。 - 在左侧导航栏选择,并在工作空间列表中,单击目标工作空间名称,进入目标工作空间管理页面。图10 进入目标工作空间管理页面

- 在左侧导航栏选择,进入剧本管理页面后,选择“流程”页签,进入流程管理页面。图11 流程管理页面

- 在目标流程“操作”列,单击“复制流程”,弹出“复制流程”配置页面。
- 在“复制流程”配置页面,配置如下参数:
表2 复制流程配置参数 参数名称
参数含义
基于版本
选择需要复制的版本,点击"确定",将生成一条新的流程。
复制流程是需要基于已有流程的某个版本进行复制的。
仅支持下拉选择,不支持输入。
流程名称
自定义新的流程名称。
- 流程名称不能与已有流程名称重复。
- 流程名称不能为空。
- 长度1~64字符,由中文字符、大小写英文字母、数字、点、中划线、下划线、空格组成。
- 配置完成后,单击“确定”。可在页面选择“流程”页签,查看新生成的流程信息。复制流程完成后,若需要启用流程,需要编辑并提交流程版本、审核流程版本、启用流程。
父主题:剧本编排管理

