更新时间:2025-09-17 GMT+08:00
        
          
          
        
      
      
      
      
      
      
      
      
  
      
      
      
        
查看并处理本地镜像扫描结果
操作场景
企业主机安全提供风险视图、镜像视图双维度的镜像安全视图,帮助用户全面了解镜像资产整体的风险状况,快速定位和排除安全风险问题。
- 风险视图:支持从单个风险的维度查看该风险的所有扫描结果,可查看的本地镜像风险包括系统漏洞、应用漏洞。
 - 镜像视图:支持从单个镜像的维度查看该镜像的扫描结果,本地镜像扫描结果包括系统漏洞、应用漏洞、软件信息等内容。
 
本章节为您介绍如何从风险、镜像视图查看并处理本地镜像扫描结果。
从风险视图查看并处理本地镜像扫描结果
- 登录企业主机安全控制台。
 - 在控制台左上角,单击
图标,选择区域或项目。 - 在左侧导航栏,选择,进入“容器镜像安全”界面。
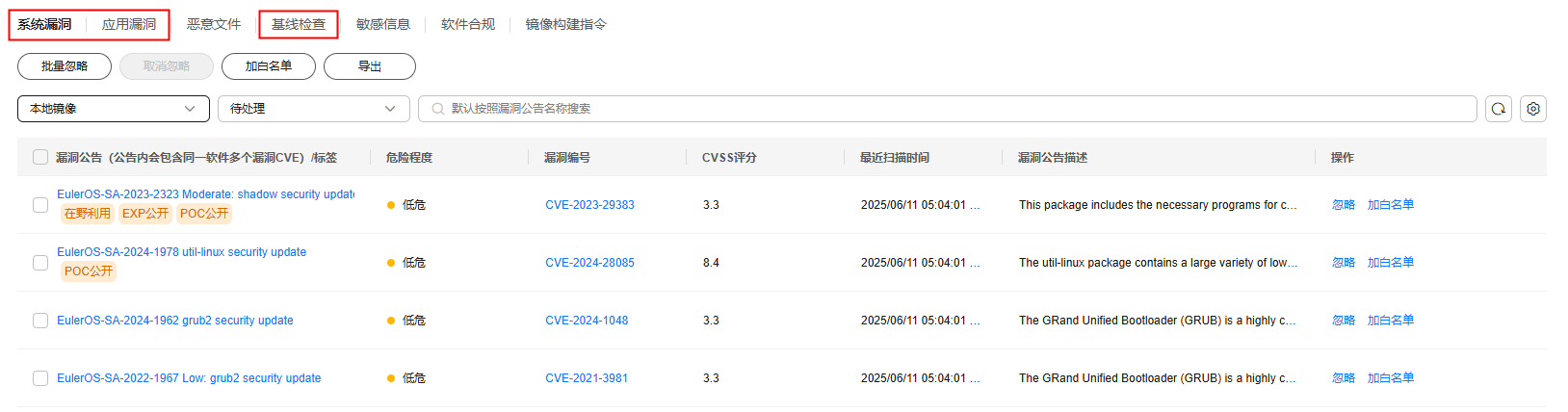
 - 在“风险视图”,选择系统漏洞、应用漏洞以及,并筛选“本地镜像”,查看并处理本地镜像安全扫描结果。风险详细说明请参见表1。
     
     图1 本地镜像风险视图
      
从镜像视图查看并处理本地镜像扫描结果
- 登录企业主机安全控制台。
 - 在控制台左上角,单击
图标,选择区域或项目。 - 在左侧导航栏,选择,进入“容器镜像安全”界面。
 - 选择“镜像视图”,进入镜像视图界面。
     
     图2 镜像视图
      - 选择本地镜像页签,查看本地镜像列表。
 - 在目标镜像所在行的“操作”列,单击“查看结果”,进入镜像扫描结果页面。
 - 查看并处理各项风险扫描结果。相关风险介绍请参见表2。
     
     图3 本地镜像扫描详细结果
      
    
      